Product number:

PROD293

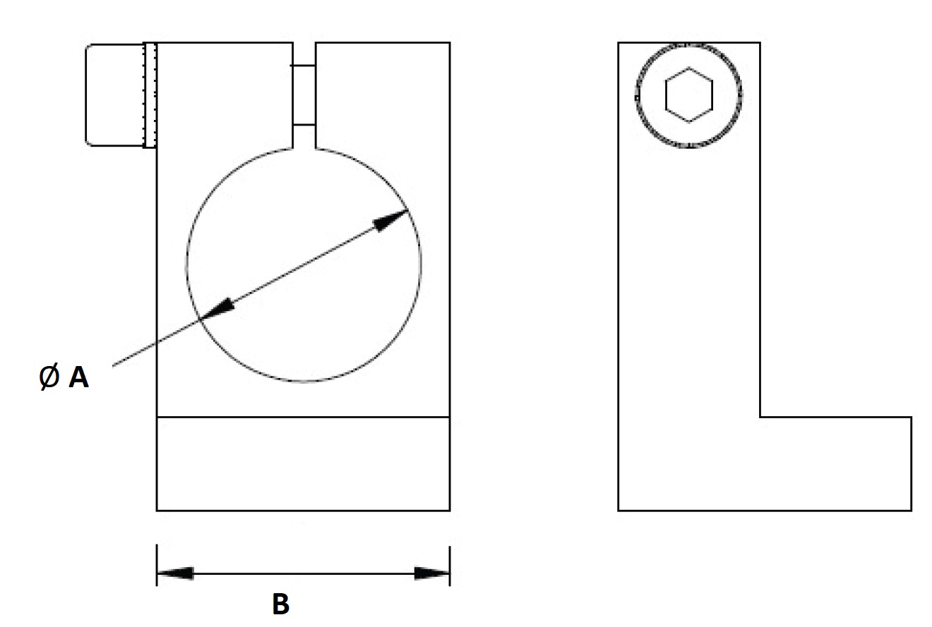
MP.ANS - Stoppers for Finger Grippers

Roborex
From €16.84Available in stock
Files
Images
3D Viewer
Specification

Material: POM